https://www.nytimes.com/interactive/2019/10/04/opinion/self-driving-cars-safety.html
Opinion | Cars Are Death Machines. Self-Driving Tech Won’t Change That.
The best way to make streets safer? Fewer cars.
www.nytimes.com
- 번역 :
난 자동차를 살인 무기라고 부르는 것은 극단적이라고 생각했었다. 그런데 내 조카가 차에 치었다. 불과 9살이었고 LA에서 가족들과 함께 있다가 아이스크림 트럭을 향해 뛰어갔는데 앞니가 모두 부러질 정도의 힘으로 차에 치였고 다행히 생명에 지장은 없었다.
조카의 사고는 자동차 사고를 겪었던 다른 가족들의 경험을 상기시켰다. 내 남편의 할머니는 자동차 사고로 사망했고, 나의 고모와 삼촌은 심각한 부상을 당했으며, 나 또한 어렸을 때 횡단보도를 건너다 뺑소니 차량에 치어 다리가 부러졌었다.
우리 대부분은 이런 경험이 있다 - 우리 삶에 밀접한 자동차라는 것이 씻을 수 없는 상처를 우리가 사랑하는 사람들 또는 내 자신에게 가져다주는 것을.
자동차는 살인 무기이다. 미국에서 보행자 사망 사고는 2008년 이후로 41%나 증가했다. 2008년 한해에만 6천명이 넘는 보행자가 사망하였다. 4천명이 넘는 미국 아이들이 매년 자동차 사고로 사명하여, 나는 내 조카가 그들 중 한 명이 아니었다는 것에 감사하며 살고 있다.
여기에 주목해 보자: '통계'는 사람들이 이 문제의 심각성을 알 수 있게 하기엔 설득력이 있어 보이지 않는다. 정책을 만드는 사람들이나, 제조사, 기술자, 또는 운전자 그 누구도 설득을 못하고 있는 것 같다.
만약 '숫자'가 생각을 바꾸지 못하게 한다면, 개인의 경험을 알려주면 어떠할까?
나는 올 여름 트위터를 통해 한 가지 실험을 했는데, 자동차에 치어본 경험이 있거나, 지인들이 그러한 경험이 있으면 나를 트윗하게 하도록 부탁했다. 수천번 넘게 공유가 되었고 500명이 넘는 사람들이 자동차에 친 경험, 가족과 친구를 잃은 경험, 그리고 그들의 현재 삶에 영향을 주고 있는 부상에 대해 이야기를 해주었다.
(원문에 기재된 사진을 보시면 해당 스토리가 소개됩니다. 이 블로그 본문에는 번역하지 않았습니다.)
자율주행 차량이나 스마트카가 이것을 해결해줄 것이라고 말하는 사람들이 많다. 지금까지도 난 잘 모르겠다. 2014년 이후 800억 달러가 넘는 돈이 '스마트카' 또는 '커넥티드카', '자율주행차'에 투자되었고 자동차를 더 안전하게 만들 것이라고 했다. 하지만 미래의 자동차에 투자하는 것은 잘못된 문제에 투자하는 셈이 되었다. 우린 우리가 자동차의 댓수를 어떻게 줄일 수 있는지를 고민해 볼 필요가 있다.
자동차 제조사에 의해 제안된 안전 수칙들 중 하나는 보행자와 자전거 사용자가 RFID 태그를 사용해서 차량이 이를 감지할 수 있게 하도록 권고한다. 이것은 곧 사고를 피할 책임이 보행자에게 있다는 것을 의미한다. 하지만 만약 사람들을 안전하게 만드는 것이 책임을 그들에게 부과하는 것이라면, 우리가 개발하고 있는 기술에 대해 완전히 다시 생각해 봐야 한다.
소위 '최신 기술'이라고 불리는 많은 것들이 지금까지는 상황을 더 안좋게 할 수도 있다. 인터넷이 장착된 '커넥티드카'를 예를 들면, 1996년에 OnStar라고 알려진 고급 안전 기능으로써 캐딜락에 장착되었는데, 완전히 다른 용도가 되었다. 굉장히 크고 복잡한 대시 보드 화면이 주행에 반드시 알아야할 시각적 알림을 이해하기 어렵게 만들었고, 주행 중 문자를 보내는 것 만큼이나 위험한 상황을 만들었다.
자동차를 더 기술적으로 복잡하게 만들수록, 차를 더 크게, 훨씬 크게 만드는데 집중했다. 유례 없는 SUV의 인기. 미국 사람들은 더 많이 구매를 하고, 자동차 제조사들은 더 많이 생산을 했다. 이러한 변화는 고속도로 안전을 위한 주지사 연합(GHSA)에 의하면 보행자 사고율 69%의 증가에 기인했다.
SUV의 전면 끝단이 평균 차량의 그것보다 높이가 높기 때문에, 보행자의 가슴이나 머리 높이를 때리고 보행자, 조깅하는 사람, 자전거 타는 사람, 어린아이들이 사망에 이를 확률이 일반 차량에 비해 두 배 이상 높다. 그리고 아직까지도 신차 판매 비중의 60%를 SUV가 차지하고 있다.
자동차를 안전하게 만들 수 있는 방법 중 하나는 작게 만드는 것이다. 다른 방법은? 사람이 운전을 덜 하게 만드는 방법을 찾아내는 것이 더 안전하고 지속가능한 대안이 될 것이다.
자동차를 다 없애야 한다고 주장할 정도로 내가 순진한 것은 아니다. 하지만 교통 관련 부상과 사망을 제거하기 위한 해결 방법이 많이 있다. 차량의 중량을 제한하고 전면부 그릴의 높이를 제한하는 것이 좋은 출발이 될 것이다. 다른 방법들은 빠르고 쉬운 것들도 있는데 제한 속도를 낮춘다든지, 빨간 불에서의 우회전을 금지한다든지, 자전거 차로를 보호할 수 있는 장치들과 교통 혼잡료를 만든다든지 하는 것들이다. 안전하게 걸을 수 있는 차로를 만드는 것도 하나의 방법이다.
우리는 모두가 자동차를 덜 주행하는데 노력할 수 있는데 이는 CO2를 줄일 수도 있고 잠재적인 충돌 상황도 막을 수 있다. 우리는 횡단보도, 자전거 도로를 방어적으로 지나쳐야 한다. 그러기 전까지는, 도로는 여전히 살인 무기로 가득차게 될 것이다.
- 조금은 극단적인 글이지만 공감되는 부분도 있어 소개했습니다. 사실 누구나 직접 경험해 보지 않으면 간과하기 쉬운 것들이 있게 마련인데 교통 사고도 그 중 하나일 것입니다. 자동차 운전자의 부주의로 인해 사고가 발생해서 사랑하는 가족과 친구를 잃은 경험이 있다면, 그러한 경험이 없는 사람에 비해 이 글이 와닿는 깊이는 더 깊겠지요.
저는 농담 반, 진담 반으로 이런 생각을 합니다.
"자율주행차를 개발해서 안전을 지키겠다고? 자율주행차 개발 비용의 1%만 투자해서 도로교통법규 위반을 단속하고 그로 인해 부과된 범칙금을 통해 다시 위반 단속에 투자하는 메커니즘이라면 훨씬 저렴한 비용으로 빠르게 교통 안전의 목적을 달성할 수 있다."
실제로 많은 당국은 Safety 최우선이라는 가치로 자율주행차를 바라보고 있으며, 그 때마다 교통사고 통계 수치를 인용하며 자율주행차가 가져올 장밋빛 미래를 펼쳐 보입니다. 이 기사는 그 미래에 정면으로 돌을 던진 것인데요, 자율주행차의 보급은 정말 안전한 사회를 가져올 것이고, 그것이 자율주행차 도래의 목적일까요? 안전한 사회를 만드는 것이 목적이라면 왜 제가 생각한 방법은 추진되지 않을까요. 정말 실효성이 떨어지고 '덜 인간적'이기 때문인가요?
저는 더 이상 많은 관계 기관들이 자율주행차의 목적을 안전한 사회 만들기로 우회하지 않았으면 합니다. '모두가 자율주행차를 타는 세상'이 온다면 그 세상은 지금보다 훨씬 더 안전할지 모르겠습니다. 하지만 우리는 그러한 세상이 오기 전에도 지금보다 안전한 세상을 만들어야할 의무가 있고, 그 방법에 대해서 고민해야 하며 적어도 당분간은 자율주행차 개발과 별개로 교통 안전 증진에 대한 많은 노력이 수반되어야 합니다. 자율주행차 시대가 도해하여 이 문제가 해결될 것을 기다리며 장밋빛 미래만을 꿈꿔서는 안된다는 것이고 이 글을 이 점을 지적하는 것 같습니다.
자율주행과는 무관한 이야기인데요, 기사 내용에는 SUV의 인기가 안전사고율을 높였다는 흥미로운 분석이 있었습니다. 실제로 그 출처(GSHA)를 찾아보니 다음과 같은 분석이 있네요.
"The increasing shift in U.S. vehicle sales away from passenger cars to light trucks (with light trucks generally causing more severe pedestrian impacts than cars) is also a factor. Although passenger cars are the largest category of vehicles involved in fatal pedestrian crashes, the number of pedestrian fatalities involving SUVs increased at a faster rate — 50 percent – from 2013 to 2017 compared to passenger cars, which increased by 30 percent."
"미국에서 승용차량으로 부터 Light Truck(보통 SUV차량을 칭함)으로 판매비중이 증가하고 있는 현상이 또한 (교통 사고 원인 증가에 대한) 팩터가 된다. Light Truck은 일반적으로 승용차량 대비 더 심각한 보행자 충격을 가할 수 있다. 비록 보행자 사망 사고 통계에서 승용차 사고의 비율이 가장 높지만, SUV와 관련된 사망자 수는 매우 빠른 속도로 증가하고 있다. 2013년에서 2017년사이에 50%가 증가했고, 같은 기간 승용차 관련 사망자수 비율은 30%가 증가했다."
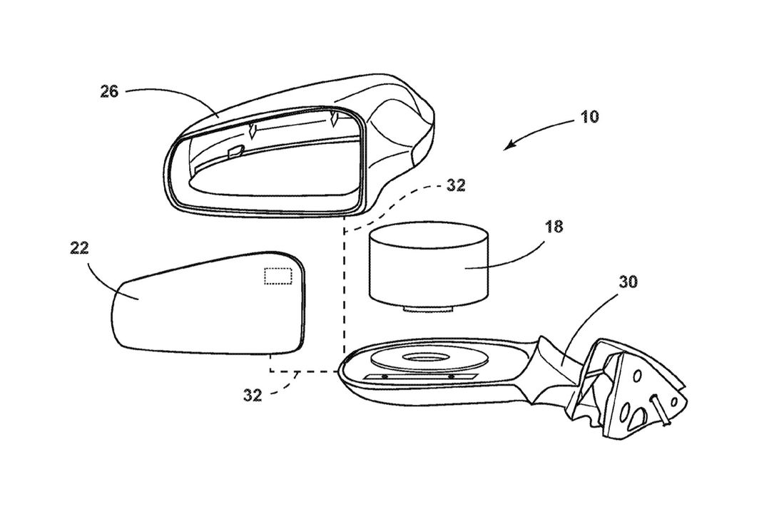
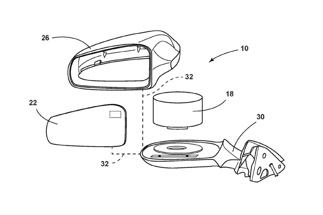
상대적으로 범퍼의 높이가 높아 보행자와 충돌 시 성인의 상반신, 어린 아이의 머리 등을 가격할 확률이 높아 SUV가 상대적으로 승용차에 비해 더 위험하다는 분석입니다. 현재 미국 도로에서 많은 자율주행 평가 차량들이 주행하고 있는데 이 중에서도 SUV의 비율은 꽤 높은 편입니다. 수 많은 센서들과 센서 Suite의 장착이 용이하고, 차량 내부에도 각종 전산 장치들이 장착되기 때문에 초창기에는 SUV와 같이 내/외부적으로 모두 공간 활용이 용이한 큰 차량이 선호되었습니다. (Apple은 Lexus RX350, Uber는 볼보 XC90, Waymo는 FCA 퍼시피카를 사용) 이후 센서 기술의 발전으로 자율주행차의 센싱 능력을 높여 더 안전한 자율주행차로 한걸음 나가갈 수 있게 해주었는데, 이 기술의 발전은 센서의 소형화로도 이어졌고 곧 작은 차량에도 충분히 LiDAR와 같은 기존 거대 센서를 몸집을 줄여 장착할 수 있게 해주었습니다. 현재는 자율주행 개발 차량으로서 SUV가 가졌던 장점들이 상당 부분 사라졌을 것이라 생각하고 실제로 많은 승용차량들이 자율주행 개발에 이용되고 있습니다. Ford는 소형화된 라이다를 사이드 미러 커버에 넣어서 외관도 좋게 하고 공력을 저하시키지 않는 방식에 대한 특허를 출원하기도 했습니다.

사진 출처 : http://www.freepatentsonline.com/20180329036.pdf
AUTONOMOUS VEHICLE LIDAR MIRROR
www.freepatentsonline.com
이렇게 센서 기술의 발전은 그것이 의도했든 의도하지 않았든 개발자들의 차량 선택의 폭을 넓혀 굳이 SUV를 사용하지 않아도 되는 세상을 만들었습니다. 너도 나도 SUV차량으로 자율주행 시스템을 개발하고 검증해야 했다면 도로 위의 SUV차량에 대한 우려 사항도 줄어들지 않았을 것입니다.
그렇다면 평가 차량이 아닌, 실제 완성된 자율주행 차량은 어떤 모습을 해야할까요. 자율주행 시대가 되면 승용, Light Truck의 구분이 무의미한 다양한 형태의 차량 카테고리가 만들어질 것입니다. 자율주행 차량으로 무인 배송을 하고 있는 Nuro라는 회사를 잠깐 소개할께요.

<Nuro의 자율주행 배송차>
Nuro 이야기를 하려는 이유는 위 기사 내용에서 주장하는 보행자 안전 증진 방법과 유사한 주장을 했던 회사이기 때문입니다. Nuro는 자사의 안전검증평가서(Voluntary Safety Self Assessment)를 통해 다음과 같은 이야기를 합니다.

미국인들의 차량 이용의 목적의 23%가 Errands에 속한다고 합니다. 쇼핑이나 기타 Errands의 비율이 전체 43%가 되는데, 즉 자동차를 운행하는 전체 시간의 절반을 줄여주면 그만큼 교통 사고 위험에 노출되는 빈도도 절반으로 줄일 수 있다는 주장입니다. 그래서 Nuro는 쇼핑이나 기타 Errands를 무인자율주행차로 대체 함으로서 개개인이 교통 사고의 위험(및 환경 오염 노출)을 줄여 보행자 안전을 증진시키겠다는 비전을 보여줍니다.
기사에서는 SUV를 지목하며 차량의 크기나 무게를 문제삼기도 했는데, Nuro는 이러한 측면에서도 다음과 같은 비교우위를 지닙니다.

그림에서 보듯 Nuro는 일반 세단 차량과 비교해서 전장과 전폭이 절반 수준인 작은 차량입니다. Nuro는 이 크기의 차이가, 무단횡단 보행자 등 예기치 못한 도로 이용자 돌발 상활 발생 시 충돌을 막을 수 있는 시간과 공간적 마진 확보가 가능하다고 주장합니다. 그리고 Nuro는 최대 속도가 25mph로 제한되어 있어 감속과 제동 측면에 있어서도 충돌 사고를 방지할 최후의 리던던시 측면에서도 이점이 있습니다.
자율주행차의 크기나 속도는 그 차의 목적이 무엇이냐에 따라 달라질 것이기 때문에 모든 자율주행차에 이러한 물리적 리던던시를 확보할 수 있게 하는 것은 불가능하겠지만 우리 일상에 밀접하게 파고들 First/last mile 모빌리티에는 이러한 '규모의 제한'으로 보행자 안전을 확보하는 방향도 좋은 아이디어라는 생각입니다.
'모두가 자율주행차를 타는 세상.' 이 세상이 온전히 도래하기 전까지는 '지금' 우리의 도로를 어떻게 안전하게 만들 것인가에 대한 고민을 자율주행차, 일반차량의 통합적인 생태계 관점에서 철저히 고민하고 그 방법을 시행해야 할 것입니다. 미래에 취해 있다가 순간을 놓치지 않기를 바랍니다.
'기타 자료' 카테고리의 다른 글
| 인터뷰: 자율주행차량은 다양한 법적 이슈를 불러 일으킨다. (0) | 2019.10.26 |
|---|---|
| Dubai World Challenge for Self-Driving Transport 개최 (0) | 2019.10.20 |
| AVSC, 자율주행차 안전 컨소시엄 (0) | 2019.10.05 |
| Uber와 Lyft가 교통 체증을 유발한다, 자율주행 최악의 시나리오 리뷰 (0) | 2019.09.29 |
| 자율주행 3단계와 Autopilot/Autoland (0) | 2019.09.27 |